Пн-Пт: 10:00 — 18:00
Каталог ЖБИ
Заказать звонок

Колонна 2К 60-1 м2

Стандарт изготовления изделия: Серия 1.423.1-3/88 Колонны 2К 60-1 м2 – железобетонные элементы квадратного сечения, применяемые в строительстве одноэтажных зданий индустриального назначения (без опор ... Подробнее

Доставка по Санкт-Петербургу и Ленинградской области
Любой удобный способ оплаты
Производим ЖБИ строго по ГОСТ
Цена по запросу

Описание изделия

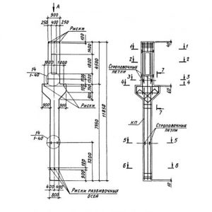
Стандарт изготовления изделия: Серия 1.423.1-3/88 Колонны 2К 60-1 м2 – железобетонные элементы квадратного сечения, применяемые в строительстве одноэтажных зданий индустриального назначения (без опор для мостовых кранов). Конструктивно изделие представляет собой монолитный стержень. Принято поперечное сечение 400х400 мм.

Колонна имеет технологические уступы или консоли для опирания на них стропильных и подстропильных конструкций.

1. Варианты написания маркировки

Знаки маркировки записывают следующими вариациями:

1. 2К 60-1 м

2

2. 2К 60-1-м

2

3. 2К 60.1 м2.

2. Основная сфера применения

Колонны 2К 60-1 м2 применяют в строительстве промышленных одноэтажных зданий и сооружений без мостовых опор кранов. Оптимально использовать изделия данного вида во всех климатических регионах, в том числе в районах с высокой сейсмоактивностью. Монтаж колонн связан с множеством особенностей.

Их подъем должен осуществляться только из положения на ребро". Требуется использование спецтехники, которую обслуживает квалифицированный персонал. Для облегчения сборки каркаса здания колонны имеют специальные разбивочные оси (риски), которые позволяют установить конструкции в проектное положение в соответствии с осями верхов балок и фундамента.

Технические характеристики

Длина L, мм6900
Ширина B, мм400
Высота H, мм400
Вес, кг2800
Объем бетона, куб.м.1.1
Серия / ГОСТ / ТУСерия 1.423.1-3/

Другие изделия

Колонна 2К 60-1 м2 — характеристики и применение

Колонна 2К 60-1 м2 — железобетонное изделие, применяемое в промышленном и гражданском строительстве. Изготавливается из тяжёлого бетона в соответствии с требованиями ГОСТ на заводах Санкт-Петербурга и Ленинградской области.

Компания «Империя ЖБИ» осуществляет поставку изделий категории «Серия 1.424.1-5» с полным комплектом документации: паспорта качества, сертификаты соответствия. Визуальный контроль качества при погрузке гарантирует доставку только целых изделий без сколов и трещин.

Доставка осуществляется собственным автопарком по Санкт-Петербургу и Ленинградской области. Для заказа и расчёта стоимости звоните: +7 (812) 627-13-09

Специалист по ЖБИ изделиям

Бесплатная консультация специалиста

Заполните контактные данные и мы свяжемся с вами в ближайшее время.




    Мы всегда готовы помочь и предложить лучшую цену на ЖБИ в Санкт-Петербурге. Обращайтесь!